最新任天堂专利暗示Switch 2将会推出一个外接手机架周边配备
在经历了漫长的等待、传闻与外流消息,任天堂终于在今年稍早正式向玩家们揭露了旗下新世代主机Switch 2的庐山真面目,并预告会在4月2日的一场发表会上公开更多细节,即使如此,各种传闻与外流消息依然没有停止,在这之前,传闻暗示了这台主机会在6月上市。 而现在,任天堂最新申请的配件专利责令部份玩家认为这台主机可能会包还类似 DS 和 3DS 的双屏幕游玩技术。

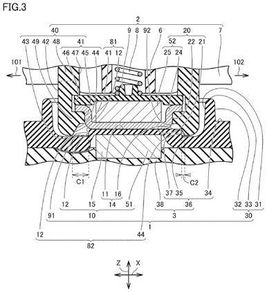
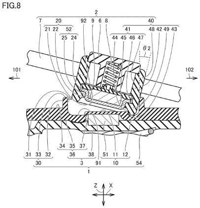
根据GameRant网站的最新报导,任天堂官方在最近针对某种可旋转的话磁吸式外部连接装置申请了专利,相关专利文件明确提到这个装置可以与智能型手机支架兼容,暗示了任天堂或许正在考虑让玩家利用智慧型手机连动Switch 2的部分游戏,藉此达到双屏幕游玩的效果,类似WiiU、NDS和3DS等过往的游戏装置。
![]() | ![]() |
![]() | ![]() |
即使这个周边配件在游戏本身中并没有任何实际的应用,这仍然能够让玩家在游玩时快速利用智能手机查询数据。 但值得注意的是,任天堂一直以来都常常提前为旗下新技术或是概念产品申请专利,而最终并不是每一项专利都会成为正式对外发售的产品,因此,目前暂时无法确定任天堂是否针对会将这个双屏幕游玩配件应用在 Switch 2 主机上。

任天堂在今年1月通过一支预告片揭露了Switch 2主机的外观、名称以及全新的Joy-Con设计,并预告了一款全新的《马里奥赛车》游戏,但确切的消息目前似乎还得要等到4月2日的那场发表会上才能够看到更加详细的内容,不少玩家预期能在这场发布会上看到更多关于规格、首发游戏阵容、价格、以及上市日期等重点资讯, 至于这个外接双屏幕周边是否真的存在,到时或许也能见真章。 但可以确定的是,玩家们在这场发布会来临之前,势必将会持续看到更多围绕在这台主机上的传闻。
赞 (0)
打赏
微信扫一扫
微信扫一扫
