
很多人已弄丢不少 AirPods 和 AirPods Pro,且虽然 AirPods 充电盒已经很小,但运动时仍不便携带。 现在苹果提交美国专利局专利显示,AirPods充电配件可能采用可弯曲材质,U型盒子放入 AirPods 后能弯成 O 型,使用方式更多样。
如苹果开发有成果,熟悉的 AirPods 圆形充电盒可能会变成手环或项链版。
专利提到:「尽管一些便携式电子装置可放入口袋或提袋,但有些活动不能将电子装置放进口袋或提袋。 某些便携式电子装置通常慢跑或其他运动时听音乐用但便携式电子装置配件通常笨重且不适随身携带,或缺少某些功能如可充电。 改善提升电子装置配件,可能有助电子设备保持便携,又提供其他功能。」

(Source:USPTO,下同)
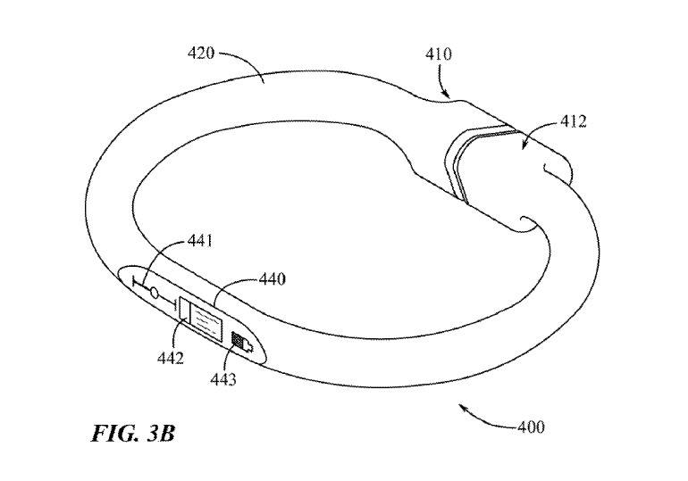
苹果在找的是用户不用时轻松拿取 AirPods 的方法,方案始于大而粗壮的项链。 苹果表示:「如图所示,配件包括第一接收部分和第二接收部分。 第一和第二接收部分可通过外壳连接。」

「某些范例,外壳某部分或全部具弹性或可弯曲,称为弹性部分。 另外范例,第一和第二接收部分可直接连接,甚至包含或至少部分在外壳内。」
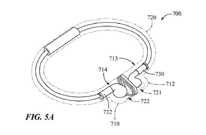
第一个颈部支架呈开放U形,耳塞插入两端,但这有耳塞掉落风险,另一个建议更像个大O形(即项链而不是颈部支架),两端可连接。

苹果专利文件探讨许多版本,包括可显示电量灯版,以及更小配件,可将 AirPods 套上钥匙圈。

最后选项是 AirPods 充电配件可「绕过用户衣物、配件、身体部位或义肢,或绕过其他物体保持配件固定。」
最显眼是手环版,苹果建议「配件可穿过或绕过用户背包背带或其他部分」,最后建议是,可固定于衣物的充电盒也可当特定指向型喇叭。

苹果表示:「如图所示,藉生成或放大定向声音,可让使用者在他人(甚至站在使用者旁边的人)听不到声音时听到声音。 这样一来,即使耳塞位于配件内,用户也可使用耳机通话时,保持一定程度隐私。」
                                                            微信扫一扫                                                    
                                                                                                                                                
                                    