自Apple在iPhone 12起引入MagSafe技术,令充电更加方便。 由于 MagSafe 是置于 iPhone 12 系列和 iPhone 13 系列内部充电线圈周围的一系列磁石,符合业界的标准,可以感应其他兼容 MagSafe 配件,并安全地将配件紧密吸在手机上。




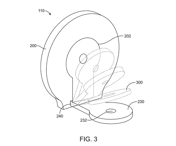
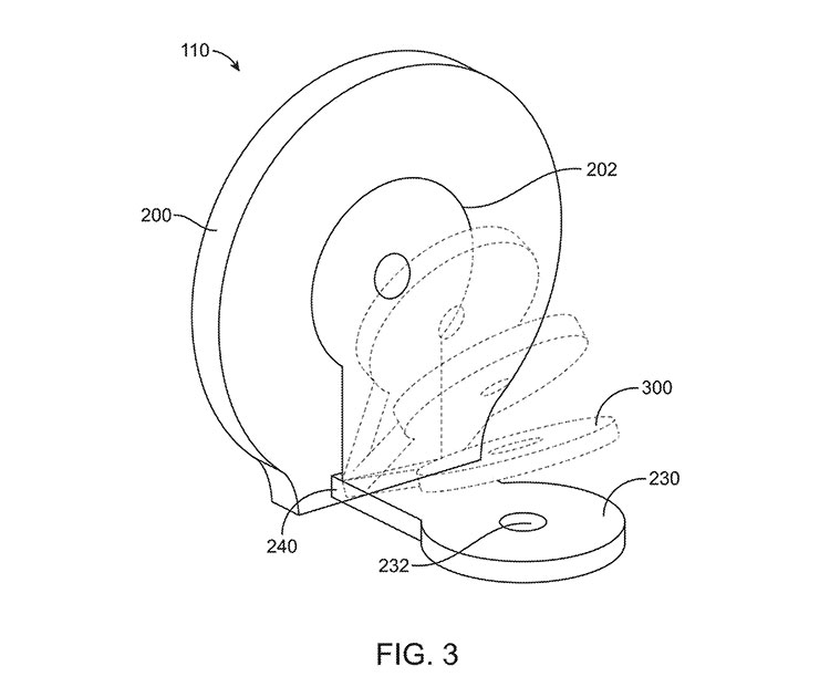
过往已经有不少手机配件厂家将 MagSafe 技术陆续用在其产品中,例如可以将手机接驳在三脚架上的转接器就是其中之一,不过就迟迟未见苹果自行推出有关配件。 出自Apple手笔的产品当然会在外型和功能上都落足功夫,而最近就有人发现苹果申请了一个 MagSafe 三脚架转接器的专利,可以将 iPhone 安装到三脚架或云台上。

Apple 这个转接器支持 MagSafe 技术,允许用家在三脚架使用这个转接器同时以 MagSafe 方式为 iPhone 充电,延长手机使用和拍摄时间,并可以轻松地将手机放置在不同的方向和位置。 从专利申请文件中看到苹果这个转接器内置 Lightning 端子,底座部分设有脚架孔,可以连接三脚架、手持稳定器或云台等。

当然,Apple 这个 MagSafe 三脚架转接器会否真的商品化仍是未知之数,而专利文件中也没有交代产品会否适用于较旧兼不支持 MagSafe 的 iPhone,加上同类配件在市场上也有不少,究竟苹果的光环能否使它在果粉心目中脱颖而出仍是一个谜。
赞 (0)
打赏
微信扫一扫
微信扫一扫
