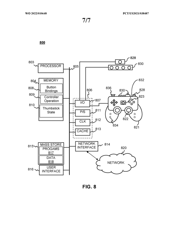
SIE 于 2021 年 6 月 22 日向世界知识产权组织申请了关于「可伸缩式控杆主机手掣」的专利申请,相关申请文件近日正式曝光。

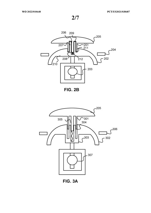
相关的专利文件表示,平常的游戏控制器因突出的控杆容易卡住衣物造成损坏,以及拥带困难等原因进行今次专利申请,专利展示了控杆可以进行伸缩形式,更方便收藏。

而且今次专利亦表示控制器的控杆更难受到干扰以及加大可动范围,亦可以透过LED灯分辨控制器等。

不过索尼过去也申请过很多不同关于控制器的专利,今次这款可伸缩式控杆主机手掣会否正式商品化也是未知之数,而且可能还有很多技术上的问题需要考虑。
赞 (0)
打赏
微信扫一扫
微信扫一扫
